任务文章 2023-07-25 8人已阅读
7月25日,吴亦凡犯强奸聚众淫乱二审开庭,案件将依法择期宣判。此前,吴亦凡因强奸罪、聚众淫乱罪,一审获刑13年,附加驱逐出境。
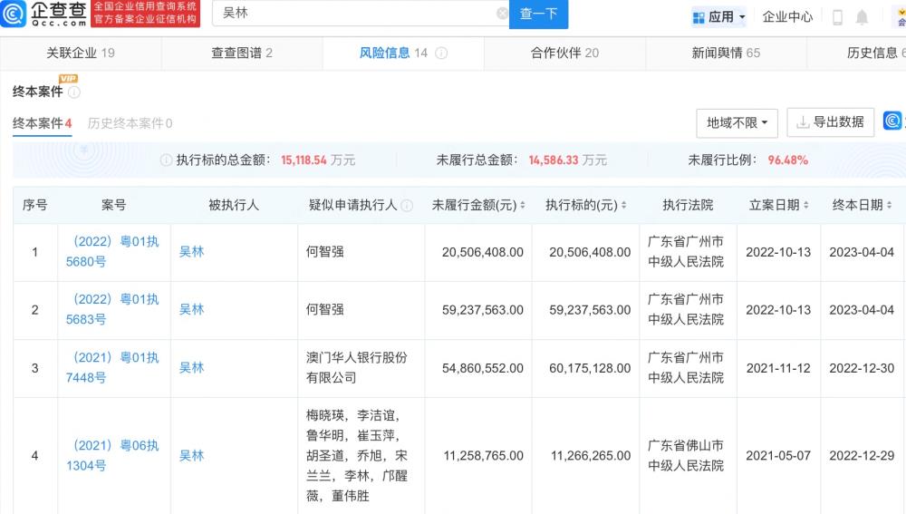
企查查APP显示,吴亦凡共关联4家企业,其中3家工作室均已于2020年注销,目前为存续状态的仅剩他和表哥吴林共同持股的厦门亿和云起文化传媒合伙企业(有限合伙)。吴林已多次被限制高消费,并涉及4条终本案件信息,未履行金额超1.4亿元。此外,去年10月,吴亦凡经纪公司北京凡世文化传媒有限公司因未按规定期限公示年度报告,已被列入经营异常名录。
吴亦凡事件被曝光后,许多代言品牌也与吴亦凡产生服务合同纠纷。企查查信息显示,华帝股份有限公司、嘉士伯(中国)啤酒工贸有限公司、上海上美化妆品股份有限公司(韩束关联公司)等都曾起诉吴亦凡经纪公司或相关公司。




【来源:企查查APP】
游戏 推荐